eigene Unterrichtsunterlagen
- Downloads: Unterrichtsplanung für Kfz-Mechatroniker im 1. Lehrjahr (PDF) mit den zugehörigen Fragen als Folie bzw. Auftrag für die Gestaltung eines Plakates (PDF) ist geeignet als Einstieg oder kurzen Überblick im TG. (12/2007)
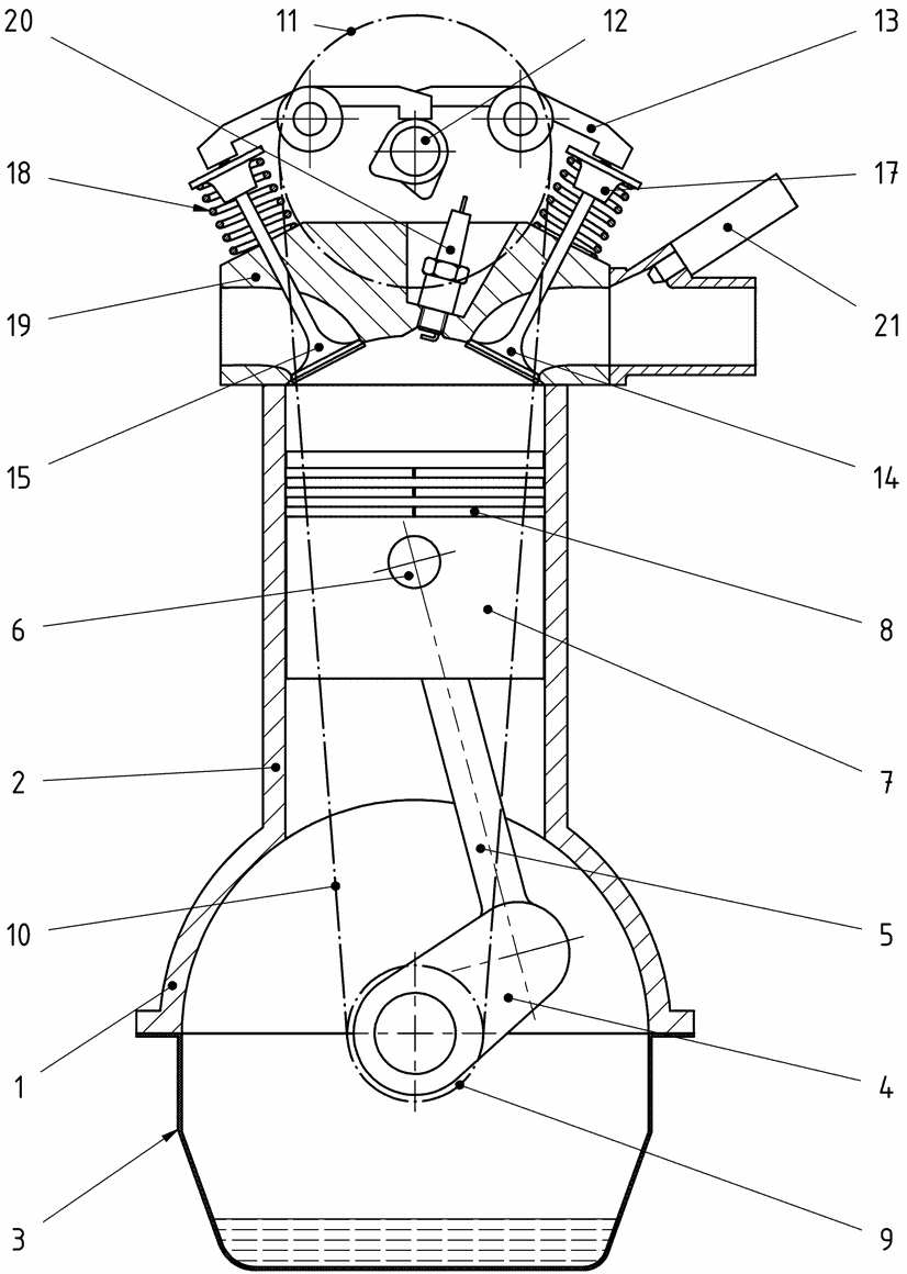
- Download: Arbeitsblatt Bauteile eines Ottomotors (PDF, Bild siehe unten)
- Download: Arbeitsblatt Bauteile eines Ottomotors 2 (PDF)
- Download: Ottomotor_Takte_Arbeitsweise_AB.PDF: Vertiefungsfragen zu den 4 Takten (Steuerzeiten, Drücke..)
- Download: Verbrauchskennfeld eines Viertaktmotors: Diagramm mit Fragen und Lösungen (PDF)
- Download: Arbeitsblatt zum Steuerdiagramm eines Viertaktmotors mit Lösungen
- Download: Arbeitsblatt zu Nockenformen (PDF)
- Download: Vergleich Otto - Diesel (aus meinen Anfangszeiten, also uralt ;-)
- Interner Link: Weitere Unterlagen bei meiner Seite Thermodynamik
- Interner Link: Unterrichtsmaterial Fahrzeugtechnik
fremde Unterrichtsunterlagen
- Link: Ulf Kersling beschreibt Arbeiten am Motor am Beispiel einer Aprilia Moto 65 (03/2002).
- Youtube: Viertaktmotor von Thomas Schwenke
Literaturhinweise
Interner Link: Fahrzeugtechnik
Schema eines Ottomotors

